Inhaltsverzeichnis
SE-213: TLD
Tragbar Leichte Dezimeterstation, TLD oder SET 11/2; hergestellt von Brown Boveri Cie.
Erst in den Jahren des zweiten Weltkriegs wuchs das Interesse an der Nutzung der höheren Frequenzbereiche. Nachdem mit einem Prototypen eine Verbindung zwischen einer Höhenstation auf dem Jungfraujoch und St. Chrischona bei Basel gelang, beauftragte die Kriegstechnische Abteilung (KTA) die BBC mit der Entwicklung einer mehrkanalfähigen Richtstrahlstation.
Technische Daten
- Frequenzbereich: 330 - 355 MHz
- Sendeleistung: 3 W
Stromversorgung
- Netzbetrieb: Netzspeisegerät TLD-ZT (Versorgungsspannungen 110, 125, 145, 205, 220, 230, 250 V)
- Benzingenerator Motosacoche 1 Zyl. Zweitaktmotor, 220 V, 400 Watt
- Umformer: Umformer TLD-ZT 11d zum Betrieb von 12 V Akkumulatoren
- Hand- / Tretgenerator: Tretgenerator TLD, markiert mit einem roten Ring
Zum Betrieb benötigt die Station eine Heizspannung von 14.5 V (2,5 A) und eine Anodenspannung von 360 V (120 mA).
Im stationären Betrieb wird die Station von einem Netzspeisegerät aus versorgt. Alternativ kann die Station im Felde mittels Benzingenerator oder im Notbetrieb auch mittels Tretgenerator betrieben werden. Der mit einem roten Ring markierte Tretgenerator stellt kräftig und regelmässig getreten die Heizspannung von 13 Volt und 360 V Anodenspannung bereit.
Dimensionen
- Gesamtgewicht des Stationsmaterials 214,6 kg
- Empfängerkasten, Kiste E: 363,5 x 439 x 256 mm, 27.5 kg
- Zubehörkasten, Kiste Z mit Senderkasten: 363,5 x 439 x 256 mm, 16.2 kg (mit Taste, Mikrophon, Kopfhörer, Ersatzröhren und Senderprüflampe)
- Antennenkiste, Kiste A mit Sendeantenne S-A, Empfangsantenne E-A; 609 x 458,5 x 250 mm, 15.7 kg
- zwei Stative 58 im Futteral für Sende- und Empfangsantenne; 660 x 160 mm, 3.6 kg
- Kabelkiste, Kiste K mit Speisekabeln, Antennenkabeln, etc.: 609 x 458,5 x 250 mm, 22.8 kg
- Netzanschlussgerät, Kiste N mit Netzspeisegerät: 363,5 x 439 x 256 mm, 30.4 kg
- Umformer, Kiste U mit 12 V-Umformer TLD-ZT 11d
- Tretgenerator, erzeugt die Heizspannung 13 V und Anodenspannung 360 V, Markierung rot; 1060 x 345 x 460 mm, 21.8 kg
- Benzin-elektrisches Aggregat Motosacoche, 25 kg
- Betriebsstoffkiste mit zwei Benzin- und Ölkanistern
- Relais- und Fernbedienausrüstung, Kiste R F A, mit den entsprechenden Verbindungskabeln
Zubehör
- Als Antennen werden Dipolantennen mit Reflektoren eingesetzt, an die Sendeantenne kann der Senderkasten angeflanscht werden. Die Antennen auf Holzstativen aufgestellt, diese sind in Segeltuchfutteralen zum Transport zu verstauen.
Bedienung
Aufgrund der guten Erfahrungen mit der Funkstation TL im Felddienst, orientierte sich das Konzept der TLD daran; die Station ist portabel in Form mehrerer Traglasten ausgeführt. Der Grossteil der Elektronik ist im Empfängerkasten untergebracht, in unmittelbarer Nähe zur Antenne ist die Leistungsendstufe des Senders in einem kleinen Kästchen untergebracht, zur Station gehört ein Netz-Speisegerät, ein Benzingenerator und auch ein Tretgenerator.
Mit der TLD konnten Verbindungen nicht nur in Telephonie sondern auch Funkfernschreibverbindungen mit dem Zeichenschreiber ETK hergestellt werden, bei Einsatz eines Verschlüsselungsgerätes waren verschlüsselte Funkfernschreibverbindungen realisierbar.
Der Grossteil der Elektronik ist im Empfängerkasten untergebracht, im an der Sendeantenne angeflanschten Senderkästchen findet sich der Leistungsoszillator mit den beiden LD1 - Röhren, die Distanz zur Sendeantenne kann so mit minimalen Verlusten überbrückt werden.
Die Sendertrioden arbeiten im Gegentakt und erzeugen eine Sendeleistung von mindestens 1,5 Watt im Bereich von 330 - 355 MHz, die Modulationsspannung gelangt direkt auf deren Gitter.
Rechts unten finden sich die Anschlüsse für Kopfhörer, Mikrophon und Morsetaste, in der linken unteren Ecke die Anschlüsse für die Feldtelephonleitung für den Fernbetrieb und die Pegelanpassung. In der rechten oberen Ecke der Anschluss für die Empfängerantenne, links die Kabel zum Sender und Speisegerät, gleich neben dem schaltbaren Messinstrument zur Kontrolle der Anoden- und Heizspannungen.
Die Frequenzeichung der Station muss mit dem Eichtopf auf der Frequenz von 345 MHz erfolgen. Danach kann die Arbeitsfrequenz auf der Spiralskala eingestellt werden. Es wird empfohlen, zwischen Sende- und Empfangsfrequenz einen Kanalabstand von mindestens 1,2 MHz einzuhalten, die Empfangsfrequenz soll nicht um Bereich um 8 MHz unterhalb der Sendefrequenz gewählt werden.
Auf der Frontplatte des Empfängerkastens findet sich rechts neben der Stationsuhr die Empfängerfrequenzskala, gleich darunter der Abstimmknopf und die Verriegelung der Abstimmung. Unter dem Lautstärkeregler ist der Betriebsschalter angeordnet.
Im Empfangsbetrieb muss die Frequenz der Gegenstation aufgesucht werden, sie wird auf maximalen Ausschlag des Messinstruments eingestellt. Wenn dann der Feststellknopf der Senderabstimmung gedreht wird, wird die automatische Frequenzkorrektur aktiviert, dass die Frequenz nicht mehr „davonlaufen“ sollte.
Die Station ist für Orts- und Fernbesprechung vorgesehen, nach dem eigentlichen Konzept sollte sie bei einem durch natürliche Faktoren oder Kampfhandlungen bedingten Ausfall einer Draht-Telephonverbindung den Ausfall überbrücken, ohne dass die Telephonteilnehmer einen Unterschied in der Kommunikation bemerken. Da nur sehr wenige Mehrkanalgeräte beschafft wurden, blieb es meistens beim Einsatz auf Punkt zu Punkt-Verbindungen, was den Einsatzwert der Station erheblich schmälerte.
Mit dem Betriebsartenschalter wird die Betriebsart gewählt: Mit Ortsbesprechung Mk.1 kann die Station wie ein normales Funkgerät betrieben werden, Mikrophon und Kopfhörer werden eingesteckt und man kann Verbindung aufnehmen. Der Sendeschalter am Mikrophon bewirkt nur die Stummschaltung beim Loslassen. Mit einem Morsetaster in der Betriebsart Ortsbesprechung Mk.1 kann mit tönender Telegraphie (A2) gearbeitet weren, im Kopfhörer eingesteckt bei Mithören hört den Funker seine Zeichen mit. Zum Hell-Betrieb wird in Ortsbesprechung Mk.2 geschaltet, der Hellsender wird mit dem Mikrophon- und der Hellschreiber mit dem Kopfhöreranschluss verbunden.
Bei Betrieb mit dem Mehrkanalgerät MK-1 (ZT 11c) wird das Kabel aus dem Zubehörkasten des Mehrkanalgeräts an der fünfpoligen Mikrophonbuchse angeschlossen („Ortsbesp.Mk.1“), mit dem Sechskanal-Zusatzgerät wird der Betriebsartenschalter in die Stellung „Ortsbesp.Mk.2“ gebracht.
Zur Fernbesprechung wird die Feldtelephonleitung an die Klemmen La und Lb angeschlossen. In der Betriebsart „Fernbesprechung Tf.“ wird über die Feldtelephonleitung in Telegraphie gearbeitet, in der Betriebsart „Fernbesprechung Stg.“ können Fernschreibsignale übermittelt werden. In den Fernbetriebsarten Kann mit Knopfdruck auf „Leitungsnachbildung“ der Pegel eingestellt werden, mit dem Kipphebel in Stellung „Abfrage Draht“ sind Diensttelephonverbindungen möglich.
Wenn die Station als Relais eingesetzt wird, sind natürlich zwei Frequenzen notwendig. Mit dem Material aus der Relais-Kiste werden die zwei Funkstationen verbunden, das Stationspersonal ist nur noch zur Kontrolle der Verbindungen nach beiden Seiten notwendig.
Technisches Prinzip

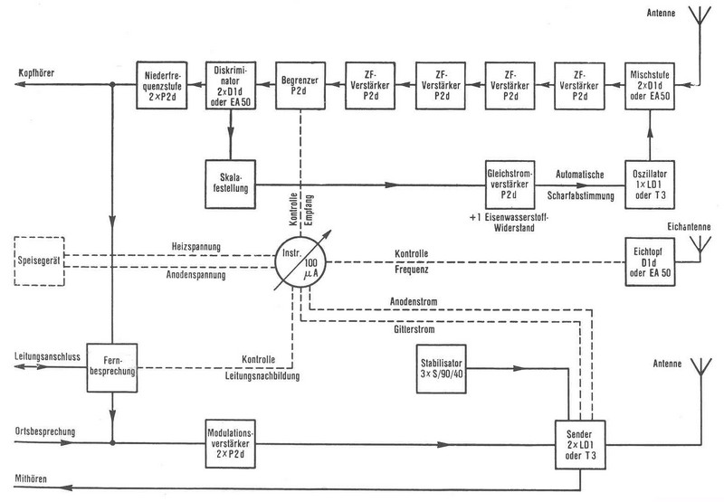
Im Sendeteil gelangt das NF-Signal vom Mikrophon oder der Fernbesprechstelle auf einen zweistufigen Modulationsverstärker (V551, V552), beim Telegraphiebetrieb ist die zweite Röhre als 1000 Hz-NF-Generator geschaltet.
Die eigentliche Sendeendstufe ist in kleinen Sendergehäuse, welche an der Sendeantenne angeflanscht wird, untergebracht. Die beiden Sendetrioden (V502, V503, zwei LD1) arbeiten in Gegentaktschaltung.
Der Empfänger ist als Superhet aufgebaut, ohne Vorverstärkung wird in einer Mischstufe (V456, V457 jeweils D1d / EA50) direkt auf die Zwischenfrequenz von 16 MHz umgesetzt; der Oszillator (V 458, LD1) schwingt zwischen 346 - 371 MHz resp. 16 MHz oberhalb der Arbeitsfrequenz. Nach vier ZF-Verstärkerstufen (V281, V 282, V283, V284 jeweils P2d) und dem Begrenzer (V 285, P2d) erfolgt die Demodulation im Diskriminator (V286, V287, zweimal D1d / EA50). Die Diskriminatorspannung wird verstärkt (V 459, P2dR, eine selektionierte P2d als Regelröhre) und zur automatischen Frequenzkorrektur am Empfängeroszillator genutzt. Die NF-Stufe (V160, V161 zweimal P2d) liefert das Audiosignal für Kopfhörer oder Fernleitung.
Röhrenbestückung
Empfänger: V456, VV457 (EA50, Mischstufe); V458 (LD1, Oszillator); V281, V282, V283, V284 (P2d, 1. bis 4. ZF-Stufe); V285 (P2d, Begrenzer); V286, V287 (zweimal EA50, Diskriminatorstufe); V459 (P2d, automatische Frequenzkorrektur); V160, V161 (zwei P2d, NF-Stufe).
Sender: V551, V552 (P2d, Modulationsverstärker); V502, V503 (zwei LD1, Sendeendstufe).
Entwicklung
Im August 1943 wurden von Brown Boveri sieben Prototypen mit der Bezeichnung SET 9/2 ausgeliefert, von der Station mit der BBC-Bezeichnung SET 11/2 wurden 1943 hundert Stationen und 1944 weitere 50 Stationen in Auftrag gegeben. Aufgrund kriegsbedingter Produktionsengpässe, die dazu führten, dass BBC sogar die HF-Pentode P2d und die Leistungstriode T3 selber herstellen musste, gelangten die ersten Geräte erst nach Kriegsende im Mai 1945 zur Truppe. 1947 ist die Produktion abgeschlossen.
Gemäss der Dokumentation „Funkstationen der Armee“ wurden 167 Stationen beschafft, der Etatpreis wurde mit 17'500.- Fr. angegeben, nach anderen Quellen waren es 179 Stationen.
Einsatz
Im Truppeneinsatz war der TLD kein grosser Erfolg beschieden. Starke Oxidation an den Röhrenstiften der BBC-Pentoden führten zu häufigen Betriebsausfällen. Insider wussten, dass die Kontakte mittels Taschenmesser und Stahlbürste wieder „in Schuss“ gebracht werden konnten. Die Ausfallshäufigkeit und der Umstand, dass nur die Funkerkompanien von Armeekorps, Armee und Fliegertruppe mit einer kleinen Anzahl der zum produktiven Einsatz notwendigen Mehrkanalgeräte MK-1 resp. MK-2 ausgerüstet worden waren, führten dazu, dass die TLD bei der Truppe auf geringe Resonanz stiess.
Die Station blieb bis 1960 im Truppeneinsatz. Der Grossteil der Stationen kam im Divisionsrahmen zum Einsatz; wurde dort aufgrund des Fehlens von Mehrkanalgeräten aber praktisch nur für Punkt-zu-Punkt - Verbindungen eingesetzt; erst mit dem Nachfolgegerät, der ebenfalls von Brown Boveri entwickelten MT3 resp. der militärischen Variante MT4, wurde der Einsatz von Richtfunk bei der Truppe populär.
Technische Unterlagen
- Prüfvorschriften TLD, Z+H 1950


















