Inhaltsverzeichnis
SE-221
Wasserwarnstation SE-221 (Water alert station), wireless station RT 24; developed and produced by Brown Boveri, Cie..
The water alert service had a network of observers to trigger a water alarm in case of a damage of one of the dams of the big hydroelectric plants; o broken dam of an artificial lake could be a thread for hundreds of thousands inhabitants.
To back up potentially irreliable wired telephone lines, a network of VHF stations using frequencies just below the FM radio spectrum ware in use.
In around 1969, the SE-221 replaced the SE-223 which was ten years older.
Technical Data
- Frequency range: 68 - 88 MHz, 2 crystal controlled fixed frequencies
- Output power: 20 W
Power Supply
- Mains: 220 V (200 - 250 V) with the external mains power supply MK5
- Accumulator / batteries: a 24 V 20 Ah accumulator is stored in a separate battery chest, it will provide enough power to operate the station for 96 hours without mains power.
- Generator: a fuel operated generator with a power of 400 W, and enough petrol to operate it, was also part of the station equipment.
Dimensions
- Transceiver 535 x 350 x 360 mm; complete station equipment 270 kg
Accessories
- The station can be controlled from the (remote) remote control unit, via the 3 m standard control cable SE23 or the 50 m remote control cable KS.
- standard antenna is a λ/2 Yagi-Antenne („directional antenna“) on a 10 m mast, as n alternative, an omnidirectional antenna can be used to make contact to several terminal stations. All mast accessories included the five 2 m mast segments, the guy ropes and the pegs are stored in a canvas bag.
Operation
The SE-221 radio system is installed inside a rugged aluminum box made by EDAK, also most accessories are stored there. A letter on the outside will inform you about the type of the equipment. Only two „T“ sets („Terminal“) or a combination „T“ (Terminal) - „R“ (Relais) - „T“ (Terminal) - sets can be used for combination; under the condition, the correct frequency crystals are installed.
At the left side of the frontpanel, you find the control instrument and the connectors for relay operation <(to conect to a cesonc SE-221) and for the (remote) control unit. On the right next to the heat sink, the connector for battery power supply, the main switch and the switch to select one of the two crystal controlled pre-tuned frequency channels, which is to be operated with a screwdiver. Topmost, the antenna connector ist located. In the original configuration, a yagi antenna with a directional lambda/2 rod or an omnidrectional antenna was used.
When the set is switched on, a rotary selector is used co set the control instrument for measurement of the most important voltages: positions M1 -M4 let you control battery, receiver and transmitter supply voltages, the pointer has to be in the red coloured sector. In the positions M5 - M7, the collector corrent of the output amplifier, the antenna output and the reflected antenna current can be measured.
In a canvas bag, the microtel is stored, in the second canvas bas the (remote) control unit with an electric clock and emergency accessories. For the worst case scenario, that every electric supply is missing, not only an electric torch but also a candle and a fold up candle lantern are provided, as well as a box of replacement candles. But for proper operation of the transmitter, a normal power supply need to be reestablished.
Technisches Prinzip
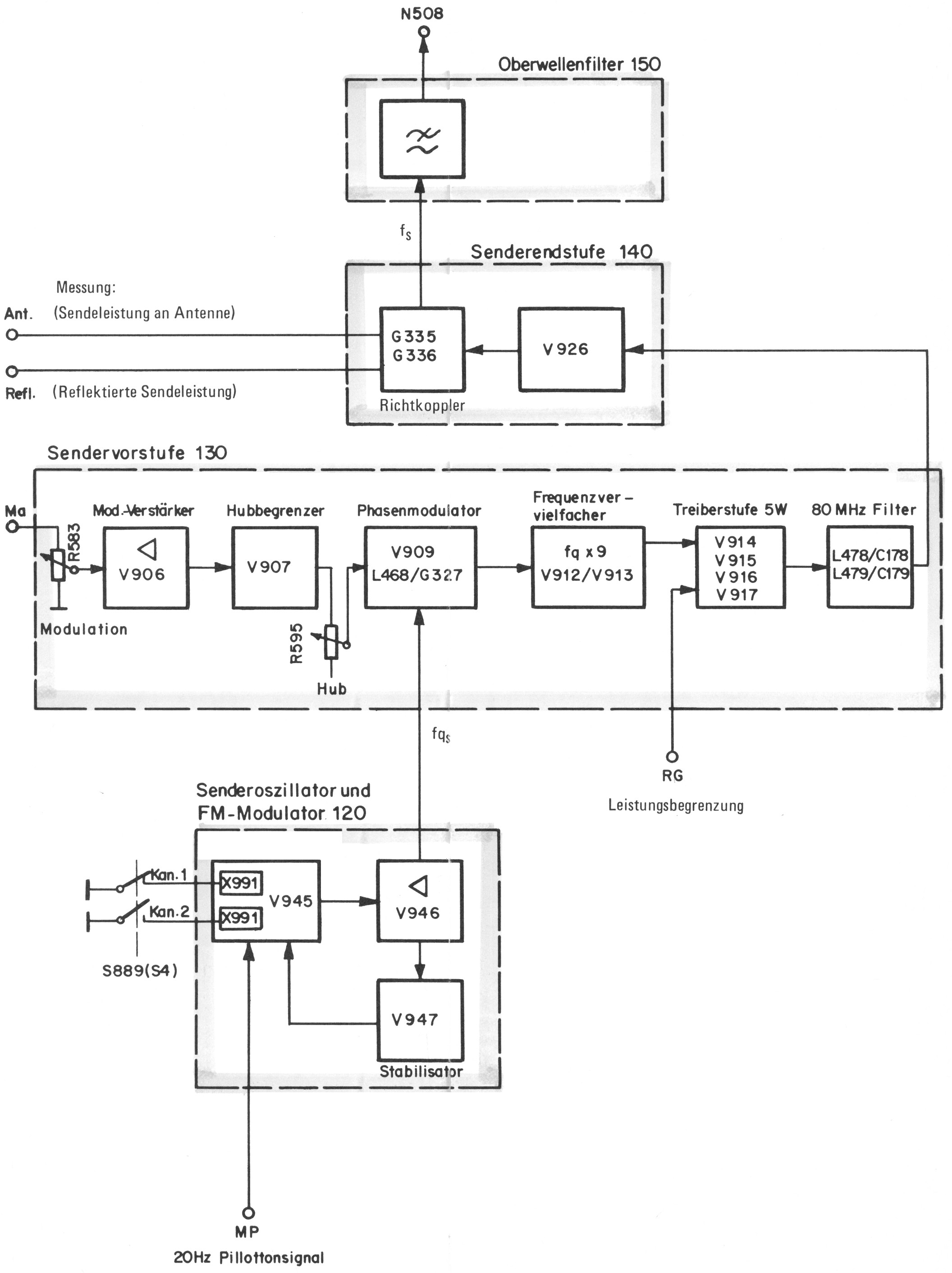
The set is of modular construction. The left unit contains the receiver and the right the transmitter module with its heat sink.
The transmitter has an output power of 20 W, in the variants TR and R with a frequency switch, it is reduced to 16 Watts.
The frequency is determined by two plug in oscillator units for the operation and reserve frequency. Two more oscillator units are provided as spares. The operation frequency is ninefold the crystal frequency. The signal from the oscillator (Crystal X991 / transistor V945) is modulated (the capacitor diode G327 is fed from the audio signal) and the then frequency modulated signal has to pass three frequency tripler stages (V912, the third harmonic is filtered; V913, then the ninth harmonic is filtered). In the excited stage (V914/V915 and V916/V917), the RF signal is amplified to 5 W, after a filter which will suppress harmonics, it is amplified to 20 Watts output power in the final stage (V926).
The receivermodule is a single conversion superhet with an intermediate frequency of 10,7 MHz, the operation frequency is printed on both oscillator modules. There are two more oscillator modules to be used as spares. To reduce the numer of crystals, on frequencies above 75 MHz, the oscillator acts as additive mixer (reception frequency = crystal frequency + 10.7 MHz), on frequencies belos 75 MHz as subtractive mixer (reception frequency = crystal frequency - 10.7 MHz). After having passed the crystal filter X981, the signal is fed to the discriminator stage and the audio is fed to the AF final amplifier.
A squelch circuitry mutes the receiver if no signal is present and when the set is transmitting.
Component lalyout
The set is completely solid state.
Deleopment
For the water alert service - units to observe and guard dams of hydroelectric plants were to give alerts to the public in case of damage to the dams - in addition to standard telephone lines, wireless connections have been established as a backup in case of a damage to the telephone lines. There connections used frequencies just below the FM broadcast band.
In the early years 1956 - 1973, modified police radio sets RT 5 habe been used. These hollow state sets came in several heavy crates which had to be replaced in 1969 by a solid state set.
The wireless station SE-221 (RT 24, a modified police set RT 22) is solid state and only occupies half of the available space in an aluminum crate.
There are several variants, the T- (Terminal-) variant (one control unit for one operator), a R- (relay) variant and a TR- (Terminal- / relay-) variant, the type is written on the frequency label on the heat sink.
For the relay variant, the transmitter and receiver can be operated the same time on different frequencies on the same antenne. So to able to use one single antenna, there is a frequency switch installed between transmitter output and receiver antenna socket. With the TR variant, the transmitter and receiver are usually not operated at the same time; but to have the possibility to operate two stations within a small distance, a frequency switch is also provided.
One half of the frequency switch is designed for frequencies below and above 80 MHz and is tuned specifically. According to the role of the set as a TR- or a R station, some cables have to be plugged in correctly in the frequency switch and a multipole connector in the set has to be changed. If the plug N506 is in the blind socket, the set is acting as R station, if it is inserted in the „crossover socket“ (with different wired connections, found only in TR sets), the set will act as TR station.
The sets have been produced and aligned in different channel groups, according to table 6 (pp68-70 in the handbook) each set can be identified.
Brown Boveri produced a special test set Prüfgerät PG-1, which looks similar like an ordinary control unit bus has additional jacks for measurements to be used for repair and alignment works.
The station has been replaced by the VHF prtable set SE-225 with automatic (bundled) channel selection.
Einsatz
The SE-221 had been developed from the basis of the police radio set RT22 in 1968, for the water alert service, 150 units have been ordered which were introduced in 1969/1973.







